首页 关于我们 新闻中心 主营业务 公司服务 科技创新 联系我们
科技创新
核心技术
专利证书
详细页面

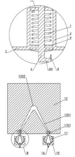
一种基于蒸汽预处理的多级智控精喷装置

发布时间:2024/3/17 18:22:10 点击:201

该技术提供一种运行安全、提高生产效率及产品质量、降低运行成本的基于蒸汽预处理的多级智控精喷装置。技术方案是:基于蒸汽预处理的多级智控精喷装置,包括分配装置、驱动装置以及喷射装置,分配装置的高压进水口连接有增压装置,分配装置上设置有若干分配部,各分配部上均安装有喷射装置,驱动装置与分配装置相连,各喷射装置均设置有若干喷水部,且喷水部与喷射装置可转动的连接。

 
山东科川节能环保科技有限公司 版权所有 Copyright @ 1988-2022 All Right Reserved
鲁ICP备2022027282号