首页 关于我们 新闻中心 主营业务 公司服务 科技创新 联系我们
科技创新
核心技术
专利证书
详细页面

一种基于蒸汽的全工况精准智控装备

发布时间:2024/3/17 18:20:46 点击:203

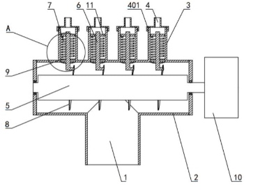
该技术提供一种运行安全、提高生产效率及产品质量、充分利用蒸汽的热能、降低运行成本的基于蒸汽的全工况精准智控装备。技术方案是:基于蒸汽的全工况精准智控装备,包括高温饱和蒸汽粗控系统、低温饱和蒸汽精控系统以及冷凝水循环系统,高温饱和蒸汽粗控系统的蒸汽出口与低温饱和蒸汽精控系统的蒸汽入口相连通,低温饱和蒸汽精控系统的蒸汽出口连接反应器,高温饱和蒸汽粗控系统的冷凝水出口以及低温饱和蒸汽精控系统的冷凝水出口均与冷凝水循环系统相连通,冷凝水循环系统的冷凝水出口同时连接高温饱和蒸汽粗控系统的冷却水入口和低温饱和蒸汽精控系统的冷却水入口。

 
山东科川节能环保科技有限公司 版权所有 Copyright @ 1988-2022 All Right Reserved
鲁ICP备2022027282号