首页 关于我们 新闻中心 主营业务 公司服务 科技创新 联系我们
科技创新
核心技术
专利证书
详细页面

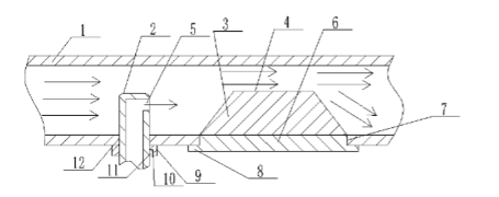
一种变截面式喷水减温装置

发布时间:2024/3/17 18:20:14 点击:186

该技术提供一种变截面式喷水减温装置,解决目前减温装置减温所需的吸收距离长,减温水多无法更充分雾化,减压减温系统中会存积水的问题。技术方案是:该装置包括主蒸汽管,主蒸汽管内设有减温水喷管,减温水喷管的出口朝向主蒸汽管内蒸汽流向的下游,减温水喷管的出口的下游的主蒸汽管内设有变位块,变位块的内侧设有与主蒸汽管内壁平行的平直段。

 
山东科川节能环保科技有限公司 版权所有 Copyright @ 1988-2022 All Right Reserved
鲁ICP备2022027282号